Бета-ЯМР спектроскопияTitle
1. Описание метода бета-ЯМР
Метод магнитного резонанса и релаксации поляризованных бета-активных ядер (бета-ЯМР спектроскопия) позволяет проводить неразрушающие исследования вещества и процессов в нем на пространственных масштабах от межатомных расстояний до нескольких нанометров. В частотно-временной области метод чувствителен к процессам, протекающим за времена от 10-5 с до 1 с и к магнитным и электрическим сверхтонким взаимодействиям с интенсивностью в интервале от 1 до 107 Гц. К ярким примерам исследований, проведенным этим методом можно отнести изучение процессов радиационного дефектообразования в литий-, фтор- и серебро-содержащих кристаллах [1], работы по исследованию ядерной спиновой динамики [2] и исследование переноса ядерной поляризации в статически неупорядоченных средах [3-7].
Группа ИТЭФ была среди пионеров в создании бета-ЯМР спектроскопии. Ей принадлежит первое в мире исследование, проведенное этим методом в физике конденсированных сред [8].
Поляризованные бета-активные ядра в среде являются прекрасными зондами локальных полей различной природы, среди источников которых, в первую очередь, следует указать сверхтонкие магнитные и электрические взаимодействия, а также диполь-дипольные взаимодействия. Они несут информацию о строении вещества и о движениях в нем. Возможны исследования во всех типах конденсированных сред: кристаллах, стеклах, жидкостях и т.д. Основные сведения о строении получаются из спектров бета-ЯМР, а движения проявляются в релаксации ядер, как продольной, так и поперечной относительно внешнего поля. Продольная релаксация наблюдается непосредственно, а поперечная – по формам линии ЯМР и кросс-релаксации. Результаты измерений, проведенных в бета-ЯМР спектроскопии, находят непосредственное применение в квантовохимических расчетах по строению веществ и в современной теории неравновесных процессов. Для структурных исследований и изучения дефектообразования и подвижности дефектов очень важно проводить измерения в широком температурном диапазоне, простирающемся от 4К до 700К и более. Для сравнения с квантовохимическими расчетами и для материаловедения очень важно проводить исследования ЯМР спектров в больших магнитных полях порядка 10 Тл. Метод позволяет проводить также изучение пространственных и временных корреляций в различных фазовых переходах, в т.ч. в магнетиках, сегнетоэлектриках и сверхпроводниках.
Особым достоинством метода является возможность проводить изучение релаксационных процессов в металлических образцах или в образцах, заключенных в металлические контейнеры, а также возможность изучения электрических квадрупольных взаимодействий ядер таких элементов, у которых стабильные изотопы не имеют квадрупольных моментов, как, например, у ядер фтора и серебра..
2. Схема бета-ЯМР спектрометра
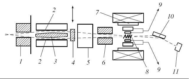
Основные узлы бета-ЯМР спектрометра представлены на Рис.1, см. также [4] и [9].
Рис.1 Блок-схема бета-ЯМР спектрометра ИТЭФ.
В настоящее время бета-ЯМР спектрометр, установленный на реакторе МИФИ, содержит
1 - коллиматор нейтронов, расположен в канале реактора и имеет длину 1 м при поперечном сечении 81.5см2$;
2 - поляризатор нейтронов, состоит из двух намагниченных кобальтовых зеркал каждое длиной 2 м и высотой 11 см, обращенных друг другу отражающими зеркальными поверхностями;
3 - поглотитель прямого пучка и , сделан из нержавеющей стали;
4 - прерыватель пучка поляризованных нейтронов, обеспечивает импульсное нейтронное облучение образца;
5 - спин-флиппер, предназначен для переориентации поляризации нейтронов, состоит из поворотного магнита, образующего ведущее магнитное поле 50 Гс (которое адиабатически поворачивает спин нейтрона на 900 от вертикального направления), и так называемой "фольги с током", создающей быстрое, неадиабатическое, изменение направления ведущего
магнитного поля на 1800; эффективность реверса поляризации - практически 100%;
6 - коллиматоры, ограничивающие отраженные нейтроны; и магниты, создающие ведущее магнитное поле, поддерживающее заданную ориентацию нейтронных спинов;
7 - электромагнит с зазором 14 см, создающий на образце постоянное внешнее магнитное поле;
8 - образец, расположенный в центре зазора электромагнита между бета-счетчиками 9; для приложения радиочастотного поля на образец наматывается проволочная катушка; при необходимости образец помещается в криостат или термостат;
9 - два сцинтилляционных счетчика-телескопа для регистрации электронов, испущенных бета-активными-ядрами по и против ядерной поляризации; каждый счетчик состоит из толстого (20 мм) и тонкого (1 мм) сцинтилляционных детекторов, включенных на совпадения для уменьшения фона;
10 - анализатор пучка нейтронов, отраженных от поляризатора; это намагниченное кобальтовое зеркало длиной 20 см, находящееся, как и поляризатор, в магнитном поле 600 Гс;
11 - счетчик нейтронов для измерения пространственного распределения нейтронного пучка, измерения его поляризации и мониторирования.
Литература.
- Ю.Г.Абов, А.Д.Гулько, Ф.С.Джепаров, С.С.Тростин. С. 193-213 в «Некоторые проблемы современной ядерной физики». Ред. И.С.Шапиро. Наука, Москва 1989.
- Ю.Г.Абов, А.Д.Гулько, Ф.С.Джепаров и др., Статистическая динамика спиновых систем и b-ЯМР-спектроскопия. ЭЧАЯ 26, 1654, 1995.
- Ю.Г.Абов, А.Д.Гулько, Ф.С.Джепаров и др., Исследование зависимости переноса поляризации в неупорядоченной системе ядер 8Li–6Li от внешнего магнитного поля. ЯФ 77, 721, 2014
- A. D. Gul’ko, O. N. Ermakov, S. V. Stepanov, S. S. Trostin. Journal of Superconductivity and Novel Magnetism 20, 169, 2007.
- F.S.Dzheparov, A.D.Gulko, O.N.Ermakov, A.A.Lyubarev, S.V.Stepanov and S.S.Trostin. Kinetics of the polarization transfer in spatially disordered spin systems: Depolarization of impurity beta-active nuclei. Appl. Magn. Reson. 35, 411, 2009
- Yu. G. Abov, F. S. Dzheparov, A. D. Gulko, D. V. Lvov. Magnetic Resonance and Relaxation of Polarized Beta-Active Nuclei: Modern State and Visible Trends. Appl Magn Reson 45, 1205, 2014.
- Yu.G.Abov, A.D.Gul'ko, P.A.Krupchitsky, S.S.Trostin, O.N.Yermakov. Nucl. Phys. 34, 505, 1962.
- А.Д.Гулько, О.Н.Ермаков, С.В.Степанов, С.С.Тростин. Инженерная физика 2007, №2, с. 94-104.
